पोलराइजरहरू: एलसीडी स्क्रिनको "अप्टिकल गेटकीपरहरू"

जब तपाइँ LCD स्क्रिनमा जीवन्त छविहरूको प्रशंसा गर्नुहुन्छ, एक सामान्य देखिने पातलो फिल्मले महत्त्वपूर्ण, तर प्राय: नदेखिने, भूमिका खेल्छ - ध्रुवीकरणकर्ता। यो परिष्कृत अप्टिकल कम्पोनेन्टले एक सटीक "गेटकीपर" को रूपमा कार्य गर्दछ, सावधानीपूर्वक प्रकाशको प्रवेश र बाहिर निस्कने नियन्त्रण गर्दछ, यसलाई लिक्विड क्रिस्टल डिस्प्ले (LCD) प्रविधिको लागि अपरिहार्य बनाउँछ।


द्विदिश लाइट गेट

एलसीडीहरू रोशनीको लागि ब्याकलाइट एकाइहरूमा निर्भर हुन्छन्। polarizer को मुख्य कार्य दुई गुणा छ:

इनपुट फिल्टरिङ (तल पोलाराइजर): ब्याकलाइटबाट अराजक, अध्रुवीकृत प्राकृतिक प्रकाशलाई एक समान कम्पन दिशाको साथ ध्रुवीकृत प्रकाशमा रूपान्तरण गर्दछ।

आउटपुट कन्ट्रोल (शीर्ष पोलाराइजर): तल्लो ध्रुवीकरणमा सामान्यतया 90 डिग्री लम्बवत उन्मुख। तरल क्रिस्टल अणुहरूले माथिल्लो ध्रुवीकरणकर्ताको "पास अवस्था" मिलाउन ध्रुवीकरण दिशालाई सफलतापूर्वक घुमाएमा मात्र प्रकाश पार गर्न सकिन्छ, दृश्यात्मक छवि बनाउने प्रकाश/गाढा ढाँचाहरू सिर्जना गर्दछ।

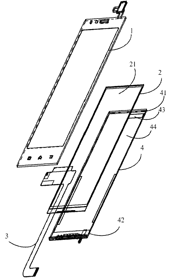
प्रेसिजन पाँच-तह "स्यान्डविच" संरचना

ध्रुवीकरणकर्ता पाँच कार्यात्मक तहहरूको ठीक इन्जिनियर गरिएको कम्पोजिट हो:

TAC फिल्म (Triacetyl सेल्युलोज - शीर्ष र तल तहहरू): "मजबूत ढाल" र "अप्टिकल क्षतिपूर्ति" को रूपमा कार्य गर्दछ। भौतिक सुरक्षा (स्क्र्याच, नमी प्रतिरोध) प्रदान गर्दछ र यसको कम अप्टिकल रिटार्डेशन गुणको कारण अप्टिकल विरूपणको लागि क्षतिपूर्ति गर्दछ, रङ शुद्धता र न्यूनतम छवि विकृति सुनिश्चित गर्दछ।

PVA फिल्म (Polyvinyl अल्कोहल - कोर लेयर): "ध्रुवीकृत प्रकाश जनरेटर।" स्ट्रेचिङ र डाइङ (आयोडिन वा डाइक्रोइक) को माध्यमबाट, यसको आणविक चेनहरू पङ्क्तिबद्ध हुन्छन्, बलियो डाइक्रोइज्म प्रदर्शन गर्दै - एक कम्पन दिशाको प्रकाश तरंगहरू अवशोषित गर्दै त्यसलाई लम्बवत प्रसारण गर्दा, कुशलतापूर्वक ध्रुवीकृत प्रकाश उत्पन्न गर्दछ। यसको कार्यसम्पादनले पोलाराइजरको दक्षता (ध्रुवीकरण डिग्री) र ट्रान्समिटेन्स परिभाषित गर्दछ।

दबाव संवेदनशील चिपकने वाला (PSA): "अदृश्य बन्धन एजेन्ट।" तरल क्रिस्टल गिलास सेल सब्सट्रेटमा पोलाराइजर एसेम्बलीलाई सुरक्षित र समान रूपमा ल्यामिनेट गर्दछ। उच्च पारदर्शिता, दीर्घकालीन स्थिरता, मौसम प्रतिरोध, गैर-संक्षारकता, र न्यूनतम बबल/दोष गठन आवश्यक छ।

रिलीज फिल्म: "ट्रान्सपोर्टेशन प्रोटेक्टर।" उत्पादन, ढुवानी, र भण्डारणको समयमा प्रदूषण र आकस्मिक आसंजनबाट PSA तहलाई जोगाउँछ। प्यानल फ्याक्ट्रीमा ल्यामिनेसन प्रक्रिया हुनुभन्दा ठीक अघि यसलाई फ्याँकिन्छ र खारेज गरिन्छ।

भविष्यका मागहरूको लागि निरन्तर विकास

उच्च छवि गुणस्तर (4K/8K, HDR), फराकिलो हेर्ने कोणहरू, पातलो प्रोफाइलहरू, र लचिलोपनले पोलाराइजर टेक्नोलोजीमा निरन्तर आविष्कारलाई ड्राइभ गर्छ:

फराकिलो हेर्ने कोणहरू: अन्तर्निहित LCD हेर्ने कोण सीमितताहरू कम गर्न अप्टिकल क्षतिपूर्ति फिल्महरूको एकीकरण।

परिष्कृत कार्यसम्पादन: ट्रान्समिटेन्स र कन्ट्रास्ट अनुपात बढाउन PVA प्रशोधनको अनुकूलन।

फराकिलो हेर्ने कोणहरू: अन्तर्निहित LCD हेर्ने कोण सीमितताहरू कम गर्न अप्टिकल क्षतिपूर्ति फिल्महरूको एकीकरण।

लचिलोपन: फोल्डेबल डिस्प्ले र लचिलो OLEDs सँग मिल्दो लचिलो पोलाराइजरहरूको विकास।


CNK को बारेमा

2010 मा शेन्जेन मा स्थापित, CNK Electronics (CNK संक्षिप्तमा) ले 2019 मा Longyan, Fujian मा विश्व अग्रणी कारखाना विस्तार गर्यो। यो डिस्प्ले उत्पादनहरु को डिजाइन, विकास, उत्पादन र बिक्री मा विशेषज्ञता एक विशेष र नवीन उद्यम हो। CNK ले ग्राहकहरूलाई लागत-प्रभावी साना र मध्यम आकारको डिस्प्ले मोड्युलहरू, समाधानहरू, र विश्वव्यापी रूपमा उत्कृष्ट गुणस्तरका सेवाहरूको पूर्ण दायरा प्रदान गर्दछ। प्रविधि र उच्च गुणस्तरमा उन्मुख, CNK ले दिगो विकास राख्छ, ग्राहकहरूलाई अझ राम्रो र स्थिर सेवाहरू प्रदान गर्न काम गर्दछ।


सोधपुछ पठाउनुहोस्

X
हामी तपाईंलाई राम्रो ब्राउजिङ अनुभव प्रदान गर्न, साइट ट्राफिक विश्लेषण र सामग्री निजीकृत गर्न कुकीहरू प्रयोग गर्छौं। यो साइट प्रयोग गरेर, तपाईं कुकीहरूको हाम्रो प्रयोगमा सहमत हुनुहुन्छ। गोपनीयता नीति
अस्वीकार गर्नुहोस् स्वीकार गर्नुहोस्